AD-ACEVSECRDSET-SL
Type 2 EVSE 3.6 kW Charging Cable
Introduction
The AD-ACEVSECRDSET-SL is a complete Type 2 EVSE 3.6kW charging cable solution, providing a reference design intended for evaluation and prototyping of EV charging systems.
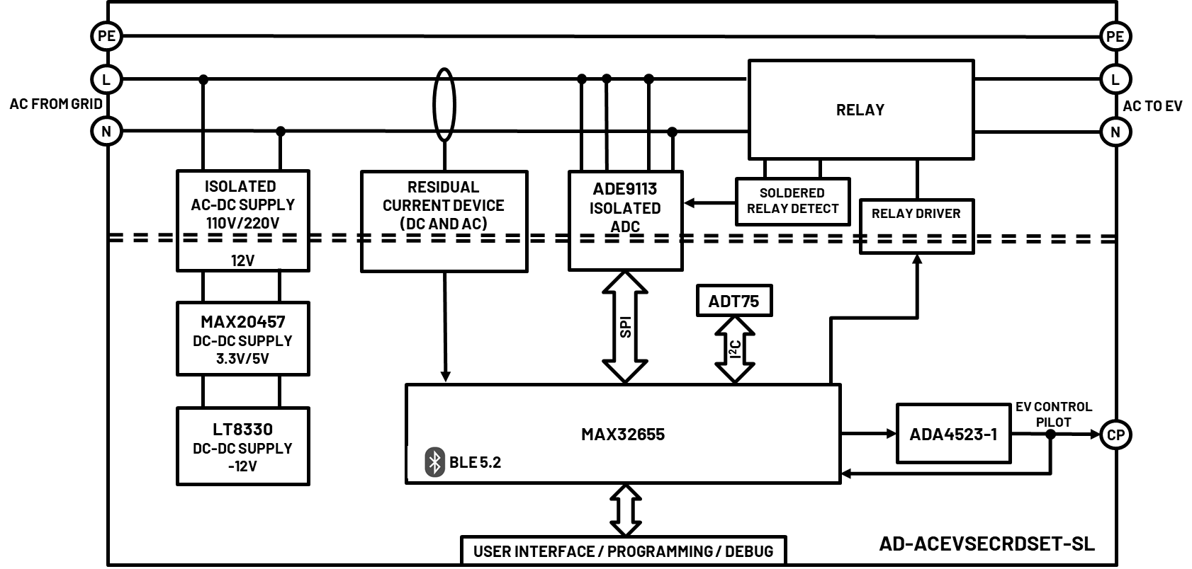
The system includes the ADE9113 3-channel isolated sigma-delta (Σ-Δ) ADC for voltage and current measurement on the single-phase power input and measurement of the relay voltage for solder contacts detection and relay state of health. Safe operation is enabled by the inclusion of a 6mA DC / 30mA rms RCD. Detection of overvoltage, undervoltage, overcurrent, overtemperature, and EV diode presence are also available.
The MAX32655 ultralow power ARM® Cortex®-M4 processor implements the logic for system control and communication with the EV over the control pilot interface. A programming and debugging interface are included. The MAX32655 Bluetooth 5.2 interface enables connectivity to external devices.
The design is accompanied by an open-source software stack and reference applications, enabling custom software development to start from a proven implementation validated to meet the applicable standards. The system is designed to meet the IEC61851 and IEC62752 standards.

Figure 1 AD-ACEVSECRDSET-SL Type 2 EVSE Cordset Evaluation Kit
Features
Complete reference design for Type 2 EVSE Cordset (IC-CPD)
Power level from 2.3kW up to 3.6kW (at 230V)
Designed to meet the applicable standards: IEC61851, IEC62752
Incorporates a 6mA DC/30mA rms RCD and a control pilot circuit
Relay soldered contacts detection
Upstream and downstream PE detection
Overtemperature detection
Integrated isolation
Reduced component count for cost optimization
Bluetooth 5.2 interface for connectivity to external devices
Open-source software stack to enable custom firmware development
Applications
EV Charging
Block Diagram

Specifications
Electrical Specs |
|
---|---|
Power |
3.6kW |
Input voltage |
230V +/-15% or 120V +/-15% |
Input current |
16A |
Input frequency |
50Hz / 60Hz |
Output voltage |
230V +/-15% or 120V +/-15% |
Output current |
10A/16A |
Output frequency |
50Hz / 60Hz |
Operating Conditions |
|
Operating temperature |
-25°C to +45°C |
Residual current device |
6mA DC / 30mA rms |
Safety Features |
|
Overvoltage category |
II |
Protection features |
Relay soldered contacts detection |
Overvoltage |
|
Undervoltage |
|
Overcurrent |
|
Overtemperature |
|
Other features |
Integrated isolation |
Diode detection |
|
Upstream and downstream PE detection |
|
User Interface & Control |
|
Communication |
Bluetooth 5.2 |
Status Indicators |
LEDs |
Debugging |
RS-232 |
Designed to the following standards |
IEC 61851, IEC 62752 |
System Setup
Additional Information and Useful Links
Software Resources
Design and Integration Files
Download
AD-ACEVSECRDSET-SL Design & Integration Files (Rev E)
Schematics
PCB Layout
Bill of Materials
Allegro Project
Help and Support
For questions and more information, please visit the EngineerZone.